MAXOPTIX CORPORATION
MAXDAT3 I, MAXDAT3 IS
|
Device Type |
Internal Tape Drive |
|
Interface |
SCSI-2 Fast |
|
Format |
DAT, DDS, DDS-2, DDS-3 |
|
Sustained Transfer Rate |
1.2 MBPS (native), 2.4 MBPS (compressed) |
|
Size |
3.5 in. full height |
|
View |
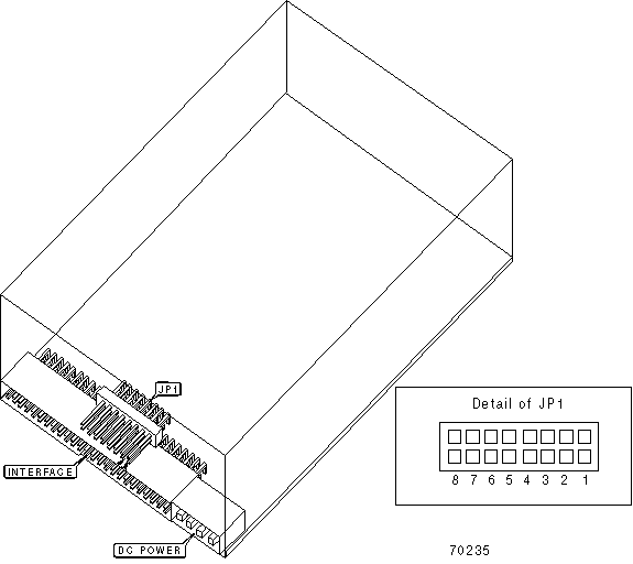
Top |

|
USER CONFIGURABLE SETTINGS |
|||
|
Setting |
Label |
Position |
|
|
» |
Termination enabled |
JP1/2 |
Closed |
|
|
Termination disabled |
JP1/2 |
Open |
|
» |
Parity check enabled |
JP1/3 |
Closed |
|
|
Parity check disabled |
JP1/3 |
Open |
|
» |
Factory configured - do not alter |
JP1/4 |
Open |
|
» |
Data compression enabled |
JP1/5 |
Open |
|
|
Data compression disabled |
JP1/5 |
Closed |
|
DRIVE SELECT ID |
|||
|
Drive ID |
JP1/6 |
JP1/7 |
JP1/8 |
|
0 |
Open |
Open |
Open |
|
1 |
Closed |
Open |
Open |
|
2 |
Open |
Closed |
Open |
|
3 |
Closed |
Closed |
Open |
|
4 |
Open |
Open |
Closed |
|
5 |
Closed |
Open |
Closed |
|
6 |
Open |
Closed |
Closed |
|
7 |
Closed |
Closed |
Closed |
|
TERMINATION POWER SELECTION |
|
|
Setting |
JP1/1 |
|
» TERMPWR supplied by drive to SCSI interface |
Closed |
|
TERMPWR supplied by SCSI interface to drive |
Open |
|
MANUFACTURERS RECOMMENDED MEDIA |
||
|
Tape |
Capacity Without Compression |
Capacity With Compression |
|
60m DDS |
1.3GB |
2.6GB |
|
90m DDS |
2GB |
4GB |
|
120m DDS-2 |
4GB |
8GB |
|
125m DDS-3 |
12GB |
24GB |